
![]() |
5極管電圧増幅回路 |
オーディオアンプの電圧増幅は3極管が主流だが、5極管も、もちろん使われる。5極管の方が、電圧増幅率を大きく取れ、また、出力できる最大電圧も3極管より大きく取れるので、こういった性質を生かした回路構成にすることもできる。
ギターアンプでも初段に5極管を使ったりしたVoxのアンプやその他、若干だけれどある。なぜあまり5極管を使わないかは、はっきり分からないが、部品の点数が増える、というのもあるが、歪み方が3極管と異なる特性があり、そのせいもあるかもしれない。これについてはこの章の最後で少し述べることにしよう。
Ep-Ip特性による設計
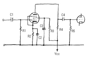
さて、右上の図が5極管による電圧増幅回路の例である。バイアスの決定などについては、Ep-Ip特性にロードラインを引いてカソード抵抗を決める手順など、3極管と同じである。下の図は、6AU6というポピュラーな電圧増幅用の5極管のEp-Ip特性である。
![]() |
| 6AU6の負荷抵抗50kΩのロードライン |
2.0V
R2 = ------ = 1.1kΩ …(1式)
1.8mA
と計算でき、結局1.1kΩになる。このEp-Ip特性は、スクリーングリッド電圧が100Vのときのものなので、スクリーングリッドに100VかかるようにR3を決める。ただ、このバイアス点における、プレート電圧、プレート電流のときのスクリーングリッド電流値がそのまま特性表に載っていることはほとんどないので、推定することになる。
ここでは、プレート電流とスクリーングリッド電流の比がだいたい一定なことを利用して推定してみよう。規格表の数値に、プレート電流5.0mAのときスクリーン電流2.1mAというのがある(プレート電圧=100V、スクリーングリッド電圧=100V)。これを使って、今回のプレート電流1.8mAのときのスクリーングリッド電流を求めてみる。
2.1mA
スクリーングリッド電流(推定) = 1.8mA × ------- ≒ 0.76mA …(2式)
5.0mA
これで、およそ0.76mAと推定できた。すると、R3は、電源電圧の250Vを100Vに落とすわけなので、次のように計算できる。
250V - 100V
R3 = ------------- ≒ 200kΩ …(3式)
0.76mA
これでR3=200kΩと決定できた。ここで一点注意である。このスクリーングリッドの電圧を落とすためのR3だが、電圧増幅の場合は200kという大きい値でもまあ大丈夫だが、実はあまり大きくしない方がよい。理由は少し難しいが、信号が入力されたときにスクリーングリッドの平均電流が信号の無いときより大きくなるせいで動作点がずれるのである。ただ、これはふつう電力増幅に使った場合に問題になるていどである、詳しくは、5極管の電力増幅のところで説明している。A = RL ・ gm …(4式)負荷抵抗を大きくすると単純にゲインが大きくなって行くのが特徴である。6AU6の上記の動作点におけるgm は規格表からおよそ 2100μS、RLは50kΩなので
A = 50×103 ・ 2100×10-6 = 105 …(5式)
と計算できる。ロードラインで求めた値と違うが、まあまあ合っている。前の前の章で検討した高μの12AX7の時はゲインが59だったので、その倍ぐらいゲインが得られている。一般に、5極管を使った方が、3極管のときよりゲインを大きく取れると考えてもいいだろう。これで、結局、ロードラインから設計した6AU6の回路は下の図のようになった。
![]() |
| ロードラインから設計した6AU6電圧増幅回路 |
![]() |
![]() |
| 仮り組み回路と実測値 | 仮り組みの様子 |
手持ちの部品をあさって作ったので、見ての通り抵抗の値も近いものを選択して使っている。右の写真は仮り組みの様子だが、かなり横着な空中配線であり、お手本にはならない。別にこれでもいいと言えばいいのだが、こんなやり方だと簡単に感電したりショートしたりするのでお勧めできない。仮組み用捨てシャーシーを使うとか、ブレッドボードと呼ばれる木の板の上に固定するとかすることをお勧めする。まあ、この辺は性格の問題でもあろう。
左側が実測値だが、バイアス値の2.1Vをはじめ設計値に割とよく合致している。ただ、ゲインは100、と少し小さめに出た。前記の(5)式のように、負荷抵抗を上げるとゲインも大きくなる。この仮組み回路でためしに負荷抵抗を56kから156kに増やしてみたら、ゲインは210にアップした。ただ、このときのプレート電圧が50Vとかなり低くなり、入力信号を大きくすると簡単に歪んでしまう。なので、当然、負荷抵抗を156kにしたら、またEp-Ip特性に戻ってバイアスを設定し直さなければならない。
それから、上述ではコンデンサの値をどうするかについては述べていなかった。これについては原理編の周波数特性のところでの記述を参考にして決めることになる。上記仮組みでは結合コンデンサは0.022μFにしてある。これは、原理編で述べたようにグリッドリーク抵抗との兼ね合いで決まる。C=0.022μFとR=470kΩではカットオフ周波数はおよそ15Hzでオーディオアンプ用としてもだいたいOKな値である。
カソードバイパスコンデンサの47μFは経験的に決めた値で、計算式は自分も知らないのでネットなどをあさって調べてみて欲しい。オーディオでは、だいたい22μF〜220μFで十分過ぎるぐらいの値を選ぶことが多い。このコンデンサは原理編で述べたように低域特性に影響する。ただし、ギターアンプでは、このコンデンサの値を故意に小さくして低域をカットするなどという芸当も使われたりするので、追求してみるのも面白い。
スクリーングリッドのバイパスコンデンサの10μFも経験値である。ただ、ここではスクリーングリッドの抵抗が220kΩと大きいので、実際には10μFも必要ない。特に、このコンデンサは100V以上の耐圧を必要とし、電解コンデンサも大きくなるので、耐圧が小さくてもOKなカソードバイパスと違ってコストもかかるしスペースも取る。ということで、実際にやってみると、たとえば0.47μFを使っても周波数特性にほとんど違いは出ない。周波数特性の計算式はこれについても自分は知らないのでネットで調べてみて欲しい。
カソードバイパスコンデンサにしてもスクリーングリッドバイパスコンデンサにしても、目安をつけるという意味では、結合コンデンサのときと同じく、それぞれカソード抵抗およびクリーングリッド抵抗の値と、次の式でカットオフ周波数を計算すればよい。
1
f = ---------- …(6式)
2 π C R
3極管と5極管の歪みの違いについて
ここまでで、3極管と5極管の電圧増幅回路の設計法を紹介したが、さて、実際に回路を作るときどちらを使うかである。世間の回路を見てみると、オーディオアンプでもギターアンプでも電圧増幅は3極管を使うことが圧倒的に多い。理由は冒頭でも言ったように、3極管はスクリーングリッド回路がいらず部品点数が減る、というのが大きいと思う。
それに対して、5極管は3極管よりゲインが大きく取れるという特徴がある。上記の6AU6も最大で300ぐらいのゲインが取れるが、3極管では大きくても100が限度である。
それから、出力信号の歪み方が3極管と5極管では異なる、という性質もある。今まで見てきたようにEp-Ip特性の曲線群の形が両者で異なっており、これが影響するのである。次の図を見ていただきたい。
![]() |
| 3極管と5極管の信号歪みの様子 |
この図は、入力信号を大きくして行ったときに、3極管と5極管でどのように出力信号が歪んで行くかを示した図である。黒丸がバイアス点で、ここではロードラインのほぼ中央の一番ベストな点を選んでいる。入力信号が、青→緑→赤、の順で大きくなって行ったときの様子である。様子をまとめると
3極管
・信号が小さいとひずみは少ない
・信号が大きくなるにつれて信号の右側がつぶれて歪みが徐々に増加する
・過大入力が入ると、右側が激しくつぶれて左右非対称になる
5極管
・信号が小さいとひずみは少ない
・信号が大きくなっても歪みはそれほど増えない
・過大入力が入ると、左右がつぶれて、左右対称にクリップした信号になる
このような結果になる。上記のように信号の片側がつぶれる歪みを2次歪み、信号の両側がつぶれる歪みを3次歪みと言ったりする。このように呼ぶ理由は少し難しいが、スペクトル解析をしたときに前者は基本周波数の2倍の周波数の成分(2次成分)が多く含まれ、後者は3倍の周波数成分(3次成分)が多く含まれることによる。
このように、3極管は歪みが徐々に増えるマイルドな振る舞いをして、5極管はあるところで急にクリップするような過激っぽい振る舞いをする。これは特にギターアンプなど増幅器を歪み領域で使う回路では音の感じが変りそうである。また、オーディオアンプであっても、不連続に歪むような特性は嫌われたりすることもあり、そんな理由もあって3極管が特にクローズアップされるのかもしれない。ちなみに、これは電圧増幅だけでなく電力増幅でも同じである。
あと、以上の傾向は、球の種類によってもずいぶん変るし、バイアスをどこに選ぶか、負荷抵抗をどれくらいに設定するかで大幅に変ってしまう。あくまでも一般的な傾向だと考えていただきたい。